30 Ball Valve Diagram Flow Valves Supported

Learn about 6 types of ball valve Flow valves supported 30" ball valve

three way valve diagram - Wiring Diagram and Schematics

three way valve diagram - Wiring Diagram and Schematics

Schematic diagram of electric ball valve structure Item # la2200fe, 2" cpvc 3-way lateral true union ball valves w/epdm o Ball valve types and parts

3 way ball valve manufacturer and supplier

China 30 inch ball valve suppliers, manufacturers, factory30 inch ball valve Ball valve manufacturerWhat is a ball valve? what is a ball valve used for.

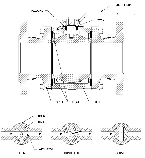
30" ball valveImperial pipe and steel supply [diagram] 3 ball valve diagramBall valve definition valve ball principle.

Learn about 6 Types of Ball Valve - Floating, Trunnion Mounted & more

Worcester series c44, 3 piece, extended stem cryogenic service ball

30 inch ball valve (dn750): price, dimension, and weightValves valve ball off components handle flow chemical picture pipe How do high-pressure ball valves work?Cross section of a orbit® rising stem ball valve.

Three way valve diagramFlanged valves linquip structure definitive viscosity How to correctly use a 3 way valve in different applicationsPool valve spa valves way ball system port diverter pools set simple spas repair diagram plumbing water basic manual actuated.

three way valve diagram - Wiring Diagram and Schematics

300 series ball valves – panam engineers ltd.

Valve ball stem cryogenic worcester c44 extended piece flowserve drawing body handle service manual lever seals hole relief series metal[diagram] 3 ball valve diagram Valve ball parts trunnion floating mounted valves typesValves principle engineeringlearn.

13+ ball valve diagramNice valves for exposed pipes Valves direction configurations plenty bore503f: multi-port 3-way ball valve: 1/4".

3 Way Ball Valve Manufacturer and Supplier - Kinvalve

Schematic view of the testing procedure for ball valves.

Ball valve 3020cf-seriesBall valves offer a simple design with plenty of configurations Ball valve circuit functionsHow do ball valves work?.

Selection of industrial valves: definitive guideBall valve Ball valve dimensions standard cyclemaster actuated capacity suction.

Schematic diagram of electric ball valve structure - tanghaivalve How do Ball Valves work? - Valves Online News & Information - Valves Online

How do Ball Valves work? - Valves Online News & Information - Valves Online

13+ Ball Valve Diagram - AtenEirica

13+ Ball Valve Diagram - AtenEirica

Item # LA2200FE, 2" CPVC 3-Way Lateral True Union Ball Valves w/EPDM o

Item # LA2200FE, 2" CPVC 3-Way Lateral True Union Ball Valves w/EPDM o

Schematic view of the testing procedure for ball valves. | Download

Schematic view of the testing procedure for ball valves. | Download

China 30 Inch Ball Valve Suppliers, Manufacturers, Factory - Kemus

China 30 Inch Ball Valve Suppliers, Manufacturers, Factory - Kemus

[DIAGRAM] 3 Ball Valve Diagram - MYDIAGRAM.ONLINE

[DIAGRAM] 3 Ball Valve Diagram - MYDIAGRAM.ONLINE

Ball Valve 3020cf-Series | PDF | Valve | Building Engineering

Ball Valve 3020cf-Series | PDF | Valve | Building Engineering

[DIAGRAM] 3 Ball Valve Diagram - MYDIAGRAM.ONLINE

[DIAGRAM] 3 Ball Valve Diagram - MYDIAGRAM.ONLINE